A7V или Sturmpanzerwagen A7V (с нем. Штурмовая бронированная машина A7V) — немецкий тяжёлый танк времён Первой мировой войны. Первый серийный танк Германской империи. Выпущен в 1917-1918 годах малой серией в 20 машин. Ограниченно применялся в боевых действиях заключительного периода Первой мировой войны.
История создания[]
15 сентября 1916 года на Сомме англичане впервые применили такое оружие, как танк. Несмотря на успехи англичан, немецкое командование поначалу сконцентрировалось не на развёртывании проектирования своих танков, а на организации противотанковой обороны. Однако уже к ноябрю немецким генералам стало ясно, что Тройственному союзу необходимы собственные танки.
Решением Военного министерства кайзеровской Германии 13 ноября 1916 года была создана техническая комиссия, которую возглавил генерал Фридрихс руководитель 7-го (транспортного) отделения Общего управления Военного министерства. Это отделение, образованное в октябре 1915 года и именуемое сокращенно A7V (AbteiIung 7, Verkehrswesen), выступало в роли заказчика боевых машин. В группу входили представители вооружённых сил и известных немецких фирм, в частности, К.Шипперт ("Даймлер"), "Бенц", Юнг (NAG), Г.Вильгельм ("Опель"), "Брасс унд Херштейнт" и австрийского отделения "Холт-Катерпиллер". По решению комиссии главным конструктором танка был назначен 46-летний капитан Йозеф Фольмер, в группу которого вошло около сорока инженеров. Он имел большой опыт разработки автомобилей различных типов, в военном ведомстве успешно вел работы по повышению проходимости грузовиков.
Поначалу немцы заимствовали английское название "Tank", затем появились "Paпzerwagen", "Panzerkraftwagen" и "Kampfwagen". А 22 сентября 1918 года, то есть незадолго до окончания войны, официально был утвержден термин "Sturmpanzerwagen".
Взгляды Военного министерства и высшего командования на назначение этой машины значительно расходились. Скептицизм командования в отношении танков и нежелание тратить средства попусту породили решение о разработке универсального шасси. 15 ноября сформулировали требования к гусеничному самоходному шасси, которое можно было бы использовать для танка и трактора или грузовика. При этом машина должна была развивать скорость до 12 км/ч, преодолевать рвы шириной 1,5 м и подъемы крутизной 30°. Заметим, что практически в то же время по такому же пути пошли в Италии, создавая опытный тяжелый танк "Фиат-2000". Только к концу 20-х годов окончательно стало ясно - создать полноценный танк на шасси трактора или использовать танк как трактор невозможно.
Проект танка A7V с 77-мм и 20- мм пушками и двумя местами механиков-водителей.
Проектирование велось спешно и было завершено уже к 22 декабря. В основу компоновочной схемы машины легла симметрия в продольной и поперечной плоскостях, что сказывалось даже на расположении дверей корпуса. Машина получила обозначение А7V по аббревиатуре заказчика. Заметим, что буква "V" в этой аббревиатуре иногда расшифровывалась в литературе как "конструкция Фольмера" ("bauart Vollmer"). Шасси получили номера от "500" и далее, под которыми и числились впоследствии танки.
Первый серийный A7V удалось выпустить только к октябрю 1917. Танк был назван в честь 7-го транспортного отдела Военного министерства.
Из 20 машин уничтожено в бою всего 4. 3 попало к союзкам. 2 застряло и всего 1 опрокинулся (всего 10).
До сентября 1918 Германии удалось выпустить всего 20 таких танков (хотя планировалось производство не менее 100 машин), так что серьёзного боевого значения немецкие танки не имели. Для сравнения: Франция за годы войны выпустила 3997 танков всех типов, а Англия — 2905.
Большинство танков серии получало собственные имена — "Мефисто", "Вотан", "Изольда" и др., танки поступали на вооружение вновь формируемых 1-го, 2-го и 3-го танковых отделений.
Модель под именем Schnuck (Шнук) была уничтожена в бою 31 августа 1918 году, а после была создана его копия.
Описание конструкции[]
Танк был спроектирован по наиболее часто используемой в тот период компоновочной схеме с продольной симметрией.
Танк создавался на базе трактора Holt, первый прототип был выпущен в апреле 1917 года, а деревянная модель в натуральную величину — в мае того же года. Первый опытный образец был выпущен в сентябре, а первая серийная машина — в октябре 1917 года.
Корпус и бронирование[]
Проект танка A7V с уменьшенным корпусом, восемью амбразурами для установки вооружения, развитым носом. Варианты установки вооружения в амбразурах.
Броневой корпус устанавливался на раме сверху и собирался клепкой на стальном каркасе. Существовало два типа корпуса - производства "Крупа" и "Рёхлинг". Каждый борт "крупповского" корпуса собирался из пяти вертикальных листов, крыша - из четырех продольных и одного поперечного, лобовая и кормовая части - из трех листов каждая. Эти корпуса получили танки N 540, 541, 542, 543 и 544. Корпуса фирмы "Рёхлинг" отличали цельные, из единого листа борта. Их имели танки N 502, 505, 506, 507. Толщина и качество брони позволяли противостоять бронебойным винтовочным пулям (типа французской 7-мм АРХ) на дальностях от 5 м и больше, а также осколочно-фугасным снарядам легкой артиллерии. Бронестойкость корпуса несколько повышалась наклонной установкой листов и "корабельной" формой лобовой и кормовой части. Уязвимыми местами были стыки бронелистов из-за их плохой пригонки - прежде всего на углах. По утверждениям союзников, сквозь стыки проникали осколки пуль и свинцовые брызги. В крыше корпуса спереди и сзади имелись большие вентиляционные решетки, служившие частично и для освещения боевого отделения танка. Верхняя рубка собиралась из пяти съемных листов и складывалась при перевозке и на марше. При сложенной верхней рубке А7V мог перевозиться на стандартной платформе по германским, французским и бельгийским железным дорогам без помех со стороны железнодорожных сооружений (для погрузки танка на железнодорожную платформу экипажу обычно приходилось строить специальную рампу). Смотровые лючки по периметру рубки прикрывались складывающимися вверх крышками, позволявшими регулировать высотy открытой щели. В крыше рубки имелся лючок с откидной решетчатой крышкой. В первоначальном проекте предусматривался специальный "нос" в виде двух треугольных рам из балок таврового сечения. Рамы крепились в передней части и служили для повышения проходимости и проделывания проходов в заграждениях. "Нос" даже был выполнен на деревянном макете, но уже в первом демонстрационном образце от него отказались.
Броня защищала экипаж не только от бронебойных пуль, но и от осколков осколочно-фугасных снарядов артиллерии.
| Тип брони | Стальная катаная |
| Лоб корпуса | 30 мм |
| Лоб корпуса (низ) | 20 мм |
| Корма корпуса | 20 мм |
| Днище | 15 мм |
| Крыша корпуса | 15 мм |
Экипаж[]
Размещение экипажа в танке: А - командир, Б - механик-водитель, В - заряжающий, Г - наводчик, Д - пулеметчики, Е - механики.
Экипаж был достаточно велик — 18 человек — и должен был обслуживать многочисленное вооружение. Командир машины размещался на верхней площадке слева; справа и чуть позади него - механик-водитель. Верхняя площадка находилась на высоте 1,6 м над полом. Артиллеристы и пулеметчики размещались по периметру корпуса. Входившие в состав экипажа два механика располагались на сиденьях спереди и сзади от двигателей и должны были следить за их работой. Для посадки и высадки экипажа служили откидные двери в правом бортy - впереди и в левом - сзади. Под дверью снаружи приклепывались две узкие стyпеньки. Внутри корпуса на верхнюю площадку вели две лестницы - спереди и сзади.
Вооружение[]
Секторы обстрела вооружения танка.
Рассматривался вариант укороченного корпуса с восемью амбразурами: в них, в зависимости от обстановки, можно было установить нужным образом две 20-мм пушки и два пулемета или четыре пулемета и два огнемета. Танк с "полноразмерным" корпусом предполагалось вооружить 77-мм полевой пушкой модели 1896 года или штурмовой пехотной пушкой Круппа модели 1916 года, двумя 20-мм автоматическими пушками Беккера и четырьмя пулеметами на вертлюгах. 77-мм штурмовая пушка с длиной ствола 20 калибров имела начальную скорость снаряда (масса 6,85 кг) 400 м/с. Для ее монтажа в танке спроектировали тумбовую установку. Однако использование 77-мм пушки вызвало ряд проблем - только длина ее отката составляла 750 мм. Кроме того, заказы на пушки оказались полностью расписаны на многие месяцы вперед и получение их также вызывало затруднение. В другом варианте предполагалось вооружить танк четырьмя 20-мм пушками и четырьмя пулеметами. В конце концов было решено ограничиться, по примеру англичан, 57 мм орудием. Для этого выбрали 57-мм капонирные пушки Максима Норденфельдта, захваченные в октябре 1914 года в крепости Антверпен.
Тумбовая установка 57-мм пушки Максима-Норденфельдта для танков A7V и A7VU.
Пушка имела длину ствола 26 калибров, длину отката 150 мм, наибольшую дальность стрельбы 6400 м. В боекомплект, кроме 100 выстрелов с осколочно-фугасными снарядами, входили 40 бронебойных и 40 картечных. Осколочно-фугасные снаряды имели взрыватель с замедлителем и могли использоваться против полевых укреплений. Начальная скорость бронебойного снаряда составляла 487 м/с, бронепробиваемость - 20 мм на дальности 1000 м и 15 мм на 2000 м. A7V первой постройки кроме корпусов отличались и типом установки орудия. Собранные первыми танки с корпусами "Рёхлинг" в передней части имели раму (козлы), на которой крепилась поворотная артиллерийская установка системы Артиллерийской Испытательной комиссии. Широкая маска (щит) пушки качалась в вертикальной плоскости, а небольшой внутренний щиток - в горизонтальной. Установка снабжалась противовесом и двумя маховиками наведения. Танки N 540 - 544 с корпусами "Крупп" получили тумбовые установки, которые разрабатывались для танка A7VU, но использовались на A7V. Угол наведения орудия по горизонтали - 45° в обе стороны, по вертикали ± 20°. Наводчик располагался на сиденье, укрепленном на кронштейне тумбы и поворачивавшемся вместе с пушкой. Сиденье опиралось на ролик, катавшийся по полу корпуса. Для наводки служил телескопический прицел. Маска состояла из двух частей. Большой щит полуцилиндрической формы соединялся с тумбой и вместе с ней вращался в горизонтальной плоскости, в левой части он имел вертикальную прорезь для прицеливания. В вертикальном вырезе посредине щита имелся щиток, связанный со стволом пушки и перемещавшийся в вертикальной плоскости. Таким образом, наводчик сидел как бы внутри полубашни. Заряжающий размещался справа от него на неподвижном сиденье. Узкое поле зрения прицела и расположение пушки в передней точке приводили к тому, что наводчик легко терял цель из виду при любом движении танка. Поэтому по обеим сторонам от орудийной амбразуры сделали смотровые лючки с двустворчатыми крышками. И все же вести более-менее прицельный огонь танк мог только с места.
Положение пулемётов.
Установка пулемета в танке A7V.
Стандартные 7,92-мм пулеметы MG.08 (системы Максима) крепились на вертлюжных установках с полуцилиндрическими масками и винтовыми механизмами вертикального наведения. Угол горизонтального наведения пулемета составлял ± 45°. Расчет каждого пулемета состоял из двух человек - ошибка, которой избежали французы при разработке легкого танка "Рено". Пулеметчики помещались на приклепанных к полу сиденьях с низкой спинкой. Коробка с лентой на 250 патронов крепилась на сиденье стрелка. Танк мог возить с собой 40 - 60 лент, то есть 10 - 15 тысяч патронов. В бортах корпуса и дверях имелись лючки с бронезаслонками для стрельбы из личного оружия экипажа, которое включало ручной пулемет, карабины, пистолеты, ручные гранаты и даже один огнемет. Таким образом, экипаж танка вооружался подобно гарнизону форта, но на практике это не вполне соблюдалось (по крайней мере, ни один танк огнемета не получил).
Двигатель и трансмиссия[]
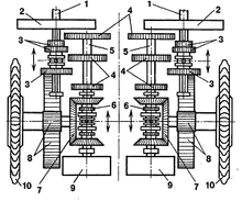
Схема трансмиссии танка A7V:
1 - носок коленчатого вала двигателя, 2 - главный фрикцион, 3 - скользящие шестерни ведущего вала, 4 - шестерни передаточного вала, 5 - ведущий вал, 6 - подвижная втулка конической передачи, 7 - коническая шестерня бортового вала, 8 - бортовой редуктор, 9 - тормоз, 10 - ведущее колесо.
Требования к танку определяли скорость движения 10 км/ч. При планировавшемся весе 25 - 30 т и предполагаемом сопротивлении движению для этого требовался двигатель мощностью около 200 л.с. Такие моторы имелись в Германии (например, для дирижаблей жесткой схемы "Цеппелин"), но были малодоступны. Фирма "Даймлер" могла поставить двигатели мощностью 100 л.с. и снабжать ими строящиеся танки. Поэтому решили применить двухдвигательную установку с работой каждого мотора на гусеницу одного борта. Двигатели были карбюраторные, 4-цилиндровые, рядные, жидкостного охлаждения, с рабочим объемом цилиндров 17 л, диаметром цилиндров 165 мм и рабочим ходом поршня 200 мм. Расход бензина на 1 км пути составлял 4 - 7 л. Двигатели устанавливались параллельно, носками коленчатых валов к корме и крепились к раме каждый в трех точках.
Топливопроводы располагались так, чтобы карбюраторы и питающие патрубки находились на внешних сторонах и не нагревались от соседнего двигателя. Выхлопные трубы ставились на внутренней стороне и по днищу корпуса выводились через глушители наружу с обоих бортов. Система питания рассчитывалась таким образом, чтобы ее работа не зависела от наклона машины. Два бака емкостью 250 л каждый помещались в передней части корпуса под днищем и защищались 10-мм бронелистами. Для большей пожарной безопасности их перекрывали стальными листами и изолировали от боевого отделения. Подача бензина производилась давлением отработанных газов, причем каждый бак мог питать оба двигателя. Для пуска двигателей имелись два вспомогательных бака с бензином лучшей очистки, служившие также в качестве резервного запаса. Зажигание смеси осуществлялось от магнето с пусковым магнитом. Число оборотов регулировалось предохранительным механизмом, ограничивавшим его максимальное значение, и дроссельным клапаном со специальным ручным рычагом. Пуск двигателей мог производиться несколькими способами: электростартером, заводной П-образной рукояткой для трех человек, распылителем "Бош" и накачиванием смеси насосом. Для подогрева служила ацетиленовая горелка. Запустив один из двигателей и придав танку первоначальное движение, можно было запустить второй через сцепление. Каждый двигатель снабжался счетчиком оборотов.
Тщательно была разработана система смазки. Стекающее в картер масло откачивалось насосом в отдельный бак, откуда оно другим насосом вновь подавалось через фильтры к местам трения. Это предотвращало заливание цилиндров маслом и забрызгивание свечей зажигания даже при продольном наклоне машины в 45°.
Для охлаждения вдоль передней и задней стенок капота вертикально устанавливались два трубчатых радиатора. Они крепились эластичными хомутами и располагались в особых карманах на войлочной прокладке, снижавшей действие вибрации. Радиаторы обдувались четырьмя вентиляторами - каждая их пара приводилась во вращение от коленчатого вала ременной передачей (со стороны маховика) с регулируемым натяжением. Воздух забирался изнутри корпуса и выбрасывался наружу через решетки ниже двигателей.
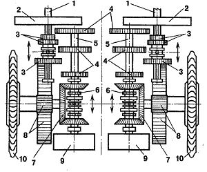
Компоновка агрегатов танка A7V и размещение членов экипажа.
Привод гусеницы каждого борта представлял собой автономный агрегат, помещенный в едином картере. Он включал сцепление, трехскоростную коробку передач, конические передачи переднего и заднего хода, однорядный бортовой редуктор. Сцепление (главный фрикцион) помещалось на конце удлиненного носка коленчатого вала двигателя. Коробка передач - тракторного типа, с ведущим и передаточным валом и скользящими шестернями. Значения скорости - 3; 6 и 12 км/ч. Переключение скоростей производилось перемещением скользящих шестерен на ведущем валу, включение переднего или заднего хода перемещением втулки конической передачи, притормаживание гусеницы - колодочным тормозом на конце передаточного вала (доводку трансмиссии осуществила фирма "Адлер"). Органы управления были связаны с соответствующими механизмами гибкими тросами.
Поворот машины производился выключением и притормаживанием одной гусеницы. Наименьший радиус поворота составлял при этом 2,2 м и равнялся примерно ширине колеи машины. Включив задний ход одной из гусениц, можно было развернуть машину на месте. При повороте с большим радиусом механик-водитель поворотом вправо или влево рулевого колеса ("волана") изменял соотношение числа оборотов двигателей. Таким образом, механик-водитель управлял машиной в одиночку и мог в широких пределах варьировать повороты и движение машины. Органами управления ему служили рулевое колесо, две педали сцепления, рычаг переключения передач, два рычага тормозов, два рычага заднего хода и рычаг насоса.
Ходовая часть[]
Все агрегаты шасси собирались на массивной прямоугольной коробчатой раме. В геометрическом центре машины располагался двигательный отсек, закрытый капотом. Над ним помещалась площадка с местами механика-водителя и командира. На первом варианте шасси установили два места водителя, повернутые в противоположные стороны, для переднего и заднего хода - популярная в те годы идея "челнока". Для увеличения полезного объема корпуса гусеницы поместили практически под днищем корпуса. Ходовую часть выполнили по типу трактора "Холт".
"Ходовые тележки" подвешивались на вертикальных винтовых цилиндрических пружинах к поперечным коробчатым балкам, приклепанным снизу рамы. Поначалу каждая тележка имела две пружины, затем их количество довели до четырех. Одна тележка несла пять опорных катков с наружными и центральными ребордами - по типу железнодорожных. На каждый борт приходилось по три тележки. Перемещение тележек относительно рамы ограничивалось балками. Верхняя ветвь гусеницы поддерживалась шестью роликами, которые крепились попарно на особых брусках, уложенных по бокам рамы на выступы поперечных балок. Таким образом, оси поддерживающих роликов и ведущего колеса были жестко связаны с рамой. Ось направляющего колеса снабжалась винтовым механизмом регулировки натяжения гусеницы. Направляющее и ведущее колеса - спицованные (впоследствии устанавливались и сплошные ведущие колеса). Расположенное сзади ведущее колесо имело зубчатый венец, зацеплявший шарниры гусеничной цепи.
Траки гусениц делались сборными. Каждый трах состоял из башмака и рельса. Башмак, снабженный невысокими поперечными грунтозацепами, непосредственно ложился на грунт и служил как бы "шпалами" для рельса, по которому двигались опорные катки с ребордами - некое подобие железнодорожного хода. Проушины на концах внутреннего рельса служили для соединения траков цилиндрическими пальцами (болтами) с надетыми на них втулками буксами. С одного края башмак имел изогнутый отросток, прикрывавший шарнир от попадания грязи и камней при изгибе. Ширина башмака составляла 500 мм; рельса - 180 мм, внутреннего проема рельса - 65 мм, толщина башмака - 8 мм, высота рельса - 115 мм. Рельс выполнялся из прессованной стали, пальцы и втулки - из стали "хронос", башмак штамповался из мартеновской стали Сименса.
Электрооборудование и средства связи[]
Для питания электрооборудования (внутреннее и внешнее освещение) устанавливался генератор. Из средств внутренней связи следует упомянуть указатель на цель. Он крепился на крыше корпуса над артиллерийской установкой и поворачивался командиром танка с помощью троса. Перед расчетом орудия над правым смотровым лючком располагалась панель с белой и красной лампочками: их сочетания означали команды "Заряжай", "Внимание" и "Огонь". Остальному экипажу, как и во всех танках того времени, командиру приходилось подавать команды криком, перекрывая шум двигателей и трансмиссии. Средств внешней связи не предусматривалось. Надежность работы имевшихся радиостанций внутри трясущегося корпуса вызывала большие сомнения, не было уверенности и в эффективности световой сигнализации. Семафоры быстро сбивались бы пулями, осколками или взрывной волной. Был, правда, предусмотрен лючок для сигнализации флажками. Однако на практике управление свели к принципу "Делай как я", а при необходимости приказы доставлялись посыльными. Существовал и вариант "связного танка", оснащенного радиостанцией с поручневой антенной на крыше корпуса, вооруженного только двумя пулеметами, с экипажем 11 - 13 человек, включая радистов и наблюдателей. Но, в отличие от английских и французских "радиотанков", этот проект остался на бумаге.
Первые модели[]
Танк A7V с корпусом "Крупп".
16 января 1917 года в Берлин-Мариенфельде был продемонстрирован макет шасси и деревянный макет бронекорпуса. 20 января Военное министерство подготовило заказ на постройку 100 шасси. При этом предполагалось, что забронировано будет только 10 из них.
Первый прототип танка - рабочее шасси с макетом бронекорпуса продемонстрировали в Берлин-Мариенфельде 30 апреля, а 14 мая он был показан на ходу в Ставке Главного командования в Майнце, при этом для большего правдоподобия машину загрузили балластом массой 10 т. Прототип А7V испытывался параллельно с полугусеничным "Мариенваген II". Кроме того, свое предложение "боевой артиллерийской машины" K.D.1 представила и фирма "Крупа". Но Главным командованием по результатам испытаний был выбран А7V. Впрочем, шасси "Мариенваген II" тоже не осталось без дела - на нем позже изготавливались самоходные зенитные и противотанковые (!) орудия, а фирма "Эрхард" строила тяжелые бронеавтомобили.
Первые 5 готовых A7V планировалось получить к 15 июля 1917 года, следующие 5 танков и 40 небронированных шасси - к 1 августа, наконец, последние 49 шасси - к 1 сентября. К концу лета ожидалось получить также 50 шасси "Орионваген", однако их проходимость и способность преодолевать проволочные препятствия вызывали сомнения, и этот проект не получил дальнейшего развития. A7V оказался в конце концов единственным. Ускорению работ по A7V способствовало участие французских танков в бою на р. Эн у Шмен-де-Дам 16 апреля 1917 года. Заметим, кстати, что шасси французских машин "Шнейдер" и "Сен-Шамон" также были выполнены по типу трактора "Холт".
Танк A7V с корпусом "Рёхлинг".
Испытания A7V, проводившиеся весной и летом 1917 года, выявили ряд технических недостатков в системе охлаждения двигателей, в трансмиссии, в направляющих ryceничного хода. Их исправление заметно затянуло работы - результат первоначальной спешки. К тому же сказывался растущий дефицит материалов. Постройку первого серийного А7V завершили только к концу октября 1917 года. Еще до окончания постройки, 19 июня танк продемонстрировали в Мариенфельде кайзеру Вильгельму II.
Служба и боевое применение[]
Танк 507 проходит через пригород Св. Квентина к сборному пункту после сражения.
Впервые танки A7V вступили в бой 21 марта 1918 г. в ходе контратаки на берегах канала Сен-Кантен. Первый встречный танковый бой в истории произошёл с участием этих танков 24 апреля этого же года около Виллер-Бретоннё.
Ещё до атаки вышла из строя машина № 540, а перед боем обнаружилось повреждение головки цилиндров у № 503. Поэтому только 13 A7V, разбитые на три группы, вступили в бой. Первая группа включала танки № 526, 527 и 560, действовала с 228-й пехотной дивизией; вторая (танки № 501, 505, 506, 507, 541 и 562) — с 4-й гвардейской дивизией; третья (танки № 525, 542, 561 и 504) — с 77-й резервной дивизией. В соответствии с избранной тактикой танки были направлены на важный тактический пункт: первая группа двигалась непосредственно на деревню, вторая — вдоль её южной окраины, третья — на расположенную поблизости деревню Каши. Танк № 506 ("Мефисто") застрял на местности, но оставшиеся 12, очистив населённый пункт от английских подразделений, продвинулись до Каши и до леса Аббе.
Здесь три A7V встретились с вышедшими из леса тремя английскими Mark IV. Первый в истории бой танков с танками носил характер встречного и для обеих сторон был внезапным. Англичане оказались в не самом выгодном положении: из трёх машин две были пулемётными, а экипажи были измотаны длительным нахождением в противогазах — их позиции накануне обстреляли химическими снарядами. Таким образом, британцы уступали немцам в огневой мощи, бронировании и работоспособности экипажей. Однако уже в этом столкновении сказались такие факторы, как маневренность танков, опыт и слаженность экипажей. Бой проходил возле позиций английской пехоты и на виду у германской артиллерии, но они не приняли в нём участия. Немецкие артиллеристы опасались поразить своих, а английские пехотинцы попросту не имели каких-либо противотанковых средств. Хотя пулемётные Mark IV, получив большие пробоины, вынуждены были вскоре отойти в тыл, пушечный танк продолжал вести огонь. Немецкие машины остановились неудачно — бой фактически вёл только один из них (№ 561, "Никсе"), стреляя с места из пушек и пулемётов, в том числе — бронебойными пулями. В отличие от немецких, английский танк постоянно маневрировал и, сделав несколько выстрелов с ходу, перешёл к ведению огня с коротких остановок. После трёх попаданий у A7V был повреждён масляный радиатор. Пользуясь тем, что "англичанину" разорвало гусеницу, он смог отойти на небольшое расстояние, после чего экипаж покинул его. Два других отошли. Это дало основание англичанам справедливо считать себя победителями в первой танковой схватке.
Танк 560 (Leutnant Volckheim)
Часть танков второй группы остановилась у первой линии английских окопов за деревней и отошла назад. Вслед за этим английские танки с австралийской пехотой отбили деревню. В тот же день восточнее Каши один A7V № 525 ("Зигфрид") встретился с семью средними английскими Мк А "Уиппет" — эти боевые машины впервые вступили тогда в бой. Ведя огонь с места, вместе с артиллерией 4-й гвардейской дивизии, "Зигфрид" подбил один Мк А (ещё три подбили артиллеристы) и повредил три. Немцы потеряли в тот день три машины — № 506 (застрял и был вытащен австралийской пехотой 14 июня), 542 и подбитый 561. Довольно успешно действовали № 505 и 507. Этот бой выявил ещё одну возможность танка — использование его в качестве эффективного противотанкового средства. Однако больше в течение Первой мировой войны танки такой функции не выполняли.
Подбитый A7V № 561 немцы ночью эвакуировали. Танк № 542 опрокинулся, переходя через воронку, и был брошен экипажем. 15 мая англичане оттащили его двумя Mark IV той же роты "А" первого батальона с помощью солдат французской 37-й марокканской дивизии.
Захваченный танк нёс имя "Эльфриде", из-за чего в союзнической литературе танки A7V именовались также "танками типа Эльфриде". Машину внимательно изучали в тылу, её испытывали французские и английские экипажи. По мнению союзников,
Танк 507 "Циклоп", на пути назад в Шарлеруа, в начале мая 1918 года.
Точнее было бы сказать, что немцы учли многие из недостатков первых танков союзников, но сделали немало собственных ошибок. Англичане отмечали хорошее бронирование A7V спереди, сзади и с бортов при слабой защите крыши (ослабленной вентиляционными решётками). Кроме того,
И, конечно, отмечалась низкая проходимость машины — об этом свидетельствовал уже сам факт опрокидывания танка.
Оценка машины[]
Бронирование ходовой части, выступающие под рамой машины картеры бортовых передач и подвешенные под днищем спереди и сзади наклонные бронелисты вместе с высоким расположением центра тяжести снижали проходимость машины. Танк мог уверенно двигаться по рыхлому грунту, но только по открытой местности без бугров, глубоких рытвин и воронок; легко опрокидывался при боковом крене. При переходе через проволочные заграждения колючая проволока просто затягивалась гусеницами и запутывалась в них, что иногда приводило к перегрузке и выходу из строя сцеплений. Бронирование ходовой части было применено по опыту собственной германской противотанковой обороны, часто "разбивавшей" открытые гусеницы английских танков. На первом демонстрационном образце танка бронирование доходило до осей опорных катков. Экраны, закрывавшие ходовую часть, имелись и на серийных танках, однако экипажи снимали их, открывая ходовые тележки - дабы грязь с верхних ветвей гусениц не забивалась в ходовую часть. Бронелисты, прикрывавшие направляющие и ведущие колеса, могли откидываться на петлях вверх. Для обслуживания ходовой части в бортах предусматривались также два небольших лючка, причем в крышке переднего был вырез для вывода выхлопной трубы. Лючок имелся также в нижнем кормовом листе.
Танк 561 "Nixe" (Leutnant Biltz), до 24 апреля 1918 года.
Расположение командира и механика-водителя в поднятой рубке обеспечивало им неплохой обзор местности, однако сильно затрудняло наблюдение за дорогой непосредственно перед танком. Механик-водитель видел местность только в 9 м впереди машины! Поэтому в управлении ему помогали механики, наблюдавшие за местностью через лючки в бортах - под рубкой. В отличие от английских тяжелых танков (до появления Мк V), всю физическую работу по управлению машиной механик-водитель выполнял один, причем она была легче и проще, чем у английских коллег. Два механика участвовали в управлении только "глазами и голосом".
Большие размеры, и особенно высота танка, делали его хорошо видимой мишенью для артиллерии. За громоздкий неуклюжий корпус и две дымящие трубы A7V прозвали в войсках "тяжелой походной кухней". Вентиляция танка, как и на первых английских и французских машинах, оказалась неудовлетворительной. По сведениям одного механика-водителя А7V, температура внутри корпуса во время боя достигала + 86° С - пожалуй, здесь не обошлось без преувеличения. На марше экипажи предпочитали размещаться на крыше танка.
Танк 525 "Зигфрид" (Leutnant Bitter), и его экипаж после сражения.
Как показал боевой опыт, обилие вооружения и слабая подготовка экипажей приводили к тому, что пулеметчики мешали артиллеристам и наоборот. Вообще же неудачи, которые постигли немецкие танки впоследствии, следует отнести не только на счет недостатков конструкции, но и на счет малочисленности машин и степени обученности их экипажей - у немцев просто не было времени и возможности провести должное обучение.
Участие в разработке[]
| "Крупп", Эссен | производство бронеплит |
| "Рёхлинг", Диллинген | производство бронеплит |
| "Адлер", Франкфурт | разработка и производство трансмиссии |
| "Даймлер",Берлин-Мариенфельд | разработка и производство двигателей, сборка готовых танков |
| "Леб". Шарлоттенбург | сборка танков |
| "Бюссинг", Брауншвейг | сборка узлов и агрегатов |
| "Ланц" | сборка узлов и агрегатов |
| "Стеффенс унд Нолле", Берлин | сборка механизмов управления, бронирование |
| Оружейная мастерская в Шпандау | вооружение |
| "Нутцфарцейге АГ" (NAG) | участие в разработке |
| "Бенц" | участие в разработке |
| Отделение "Холт-Катерпиллер" в Будапеште | ведущие колеса |
| "Оберурсел" | радиаторы |
| "Бош" | карбюратор, электрооборудование |
Модернизации и модификации[]
- A7V (корпуса фирмы "Крупп") — борта броневого корпуса собраны из пяти броневых плит на клёпке.
- A7V (корпуса фирмы "Рёхлин") — борта броневого корпуса образованы цельнолитыми броневыми деталями.
- Funkwagen — передвижная радиостанция.
- Panzerflak — зенитное орудие.
- Artilleriezugmaschine — артиллерийский тягач.
- Schützengrabenbagger — траншейный экскаватор.
- Überlangwagen — бронетранспортёр.
- Проект A7V с 77-мм пушкой
Список танков A7V по номерам и названиям[]
- 501 "Гретхен": сдан на слом в 1919 г.
- 502: сдан на слом в октябре 1918 г.
- 503: сдан на слом в октябре 1918 г.
- 504 "Шнук" (Schnuck): погиб в бою 31 августа 1918 г.
- 505 "Баден I": сдан на слом в 1919 г.
- 506 "Мефисто": захвачен противником 24 апреля 1918 г. (застрял на местности)
- 507 "Циклоп": сдан на слом в 1919 г.
- 525 "Зигфрид": сдан на слом в 1919 г.
- 526: сдан на слом в 1918 г.
- 527 "Лотта": погиб в бою 1 июня 1918 г.
- 528 "Хаген": погиб в бою 31 августа 1918 г.
- 529 "Никсе II": захвачен противником 31 мая 1918 г.
- 540 "Хайланд": сдан на слом в 1919 г.
- 541: сдан на слом в 1919 г.
- 542 "Эльфриде": брошен экипажем в бою 24 апреля 1918 г.
- 543 "Хаген", "Альберт", "Кёниг Вильгельм": сдан на слом в 1919 г.
- 560 "Старый Фриц": погиб в бою 11 октября 1918 г.
- 561 "Никсе": сдан на слом в 1918 г.
- 562 "Геркулес": сдан на слом в 1918 г.
- 563 "Вотан", "Один": сдан на слом в 1919 г.
- 564: сдан на слом в 1919 г.
Сохранившиеся экземпляры[]
A7V Mephisto (506) в Музее Квинсленда в Брисбене, Австралия.
Австралия — A7V Mephisto (506) находится в Музее Квинсленда в Брисбене, Австралия. Это единственный сохранившийся A7V.
Великобритания — сохранилась пушка одного из A7V, возможно Schnuck (504), находится в Имперском военном музее в Манчестере, Великобритания.
Германия — в 1980 году на основе танка Mephisto был заново построен танк Wotan (563), который был разобран на металл в 1919 году. Его копия находится в Немецком танковом музее в городе Мунстер, Германия.
Операторы[]
Галерея[]
Источники[]
- https://ru.wikipedia.org/wiki/A7V
- http://armor.kiev.ua/Tanks/WWI/kaizer/kizer2.php
- http://pro-tank.ru/germany-tanks-first-world-war/619-sturmpanzerwagen-a7v
| Лёгкие танки: | LK I • LK II • LK III • Kraftprotze-Krupp • LK Krupp • Orion-Wagen |
| Средние танки: | Oberschlesien • Oberschlesien II |
| Тяжёлые танки: | Landkreuzer I • Landkreuzer II • A7V • A7V mit 7,7-cm Kanone • A7VU • A7VU-2 • A7VU-3 • A7VU-4 • K-Wagen • Trefass-Wagen • Marienwagen I |
| Зенитные установки: | Daimler 5,7cm FlaK • Ehrhardt Panzerkampfwagen M1906 • Krupp-Daimler 7,7cm FlaK • Marienwagen II Flak • Panzerflak |
| Пулемётные бронеавтомобили: | Büssing A5P • Daimler model 1915 • Ehrhardt E-V/4 • Marienwagen II • Opel halbgepanzerter Wagen |
| Спец. машины: | Dür-Wagen • Funkwagen • Artilleriezugmaschine • Schützengrabenbagger • Überlangwagen • Marienwagen II LKW |
























